Η Tesla κατέθεσε πατέντα για ασύρματη φόρτιση στα αυτοκίνητα

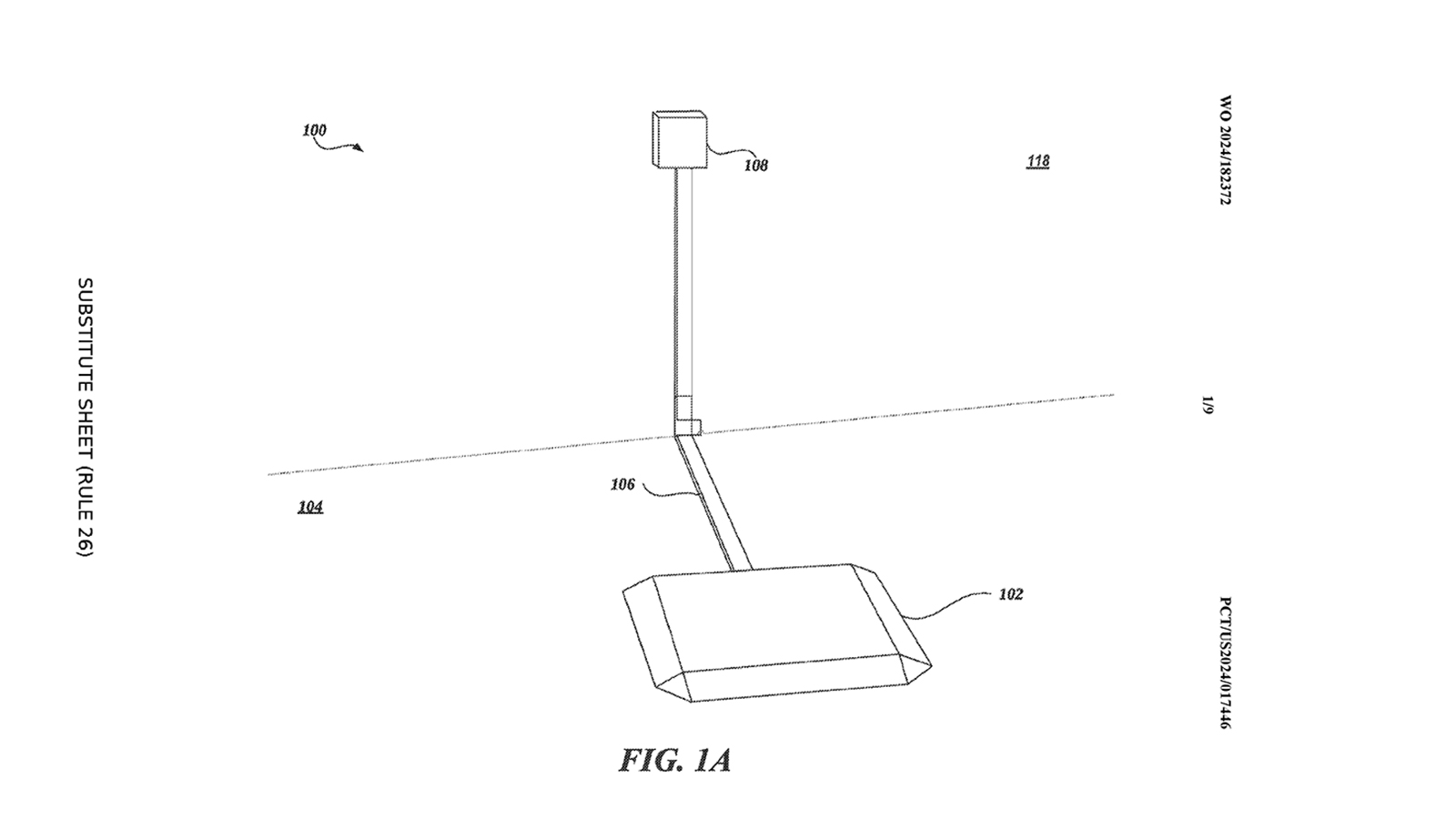
Ανεξάρτητο σχέδιο που δείχνει πως περίπου θα είναι το ασύρματο σύστημα φόρτισης της Tesla.

Ανεξάρτητο σχέδιο που δείχνει πως περίπου θα είναι το ασύρματο σύστημα φόρτισης της Tesla.

Τα αυτοκίνητα θα φορτίζουν από ένα μαξιλαράκι που βρίσκεται στο έδαφος.

Τα αυτοκίνητα θα φορτίζουν από ένα μαξιλαράκι που βρίσκεται στο έδαφος.

Τα σχέδια της πατέντας.

Τα σχέδια της πατέντας.