EuroNCAP: Νέες δοκιμές για την επιβίωση επιβατών Ο οργανισμός EuroNCAP κάνει μια μίνι ανασκόπηση του 2019 για τα μοντέλα στα οποία έκανε δοκιμές ενώ παράλληλα αποκαλύπτει πως το 2020 θα ενσωματωθούν στη διαδικασία νέες δοκιμασίες και δείκτες βαθμολόγησης για την επιβίωση των επιβατών μετά από ατύχημα.
Νέο Δ.Σ. στον ΣΕΕΠΕ Ο Σύνδεσμος Εταιριών Εμπορίας Πετρελαιοειδών Ελλάδος (ΣΕΕΠΕ) εξέλεξε νέο Διοικητικό Συμβούλιο το οποίο θα αναλάβει τα ηνία του από την 1η Φεβρουαρίου.
Αυτό είναι το νέο Sorento Αυτές οι νέες εικόνες που δημοσιεύτηκαν δίνουν μια καλή γεύση για το τι πρέπει να περιμένουμε στις 17 Φεβρουαρίου, όταν και θα γίνει η παρουσίαση του νέου SUV.
Σχέδια «μιλούν» για την ηλεκτρική Ferrari Η Ferrari χρειάζεται ακόμα κάποιο χρόνο προκειμένου να παρουσιάσει το πρώτο της αμιγώς ηλεκτρικό όχημα, ωστόσο μια σειρά από σκίτσα που διέρρευσαν στο διαδίκτυο προσφέρουν νέες πληροφορίες για το μοντέλο.
Oι νέες Skoda Octavia RS & Scout; Forum αφιερωμένο στην Skoda Οctavia δημοσίευσε κάποιες εικόνες στις οποίες απεικονίζονται οι νέες Skoda Octavia RS και Scout.
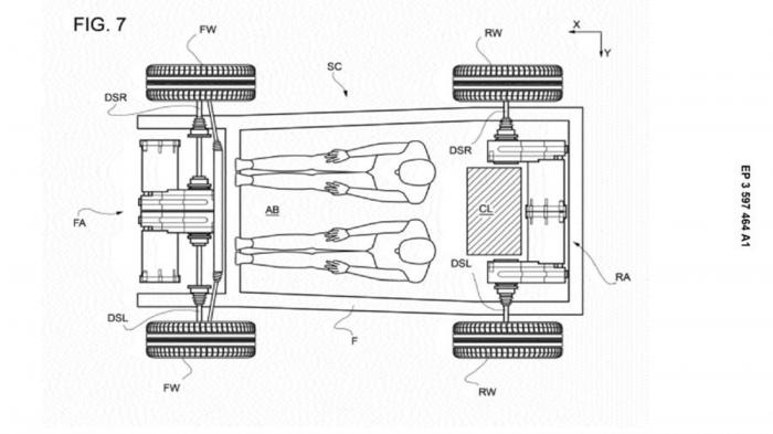
Cruise Origin: Το μελλοντικό αυτόνομο ταξί Το όνομα Cruise Origin μπορεί να μη «λέει» τίποτα αυτή τη στιγμή στους περισσότερους, μπορεί όμως να «λέει» πολλά στο μέλλον, όπου και στοχεύει να γίνει το ηλεκτρικό αυτόνομο ταξί που θα αλλάξει τον τρόπο με τον οποίο θα κινηθούμε από κάποιο μέρος σε ένα άλλο.
Τα ελαστικά που θα αγοράσουμε το 2020 Ξεχώρισαν στα δικά μας test (που μεταδόθηκαν και LIVE), διακρίθηκαν σε διεθνείς δοκιμές ή αποτελούν νέες προτάσεις που έρχονται με νέες τεχνολογίες και δυναμική για να διεκδικήσουν τα μερίδια των πωλήσεων στην αγορά!
Nέες Porsche 718 Βοxster & Cayman GTS 4.0 Τον ατμοσφαιρικό 6κύλινδρο των 4,0 λίτρων έδωσε στις 718 Βοxster & Cayman GTS 4.0 η Porsche με την ισχύ τους να φτάνει τα 399 άλογα. Πόσο κοστίζουν άραγε;
Νέα έκδοση για τα 70 χρόνια του Morgan Plus 4 H εταιρεία τιμά τα 70 χρόνια παρουσίας του μοντέλου και ταυτόχρονα λέει αντίο στην πλατφόρμα πάνω στην οποία βασίζεται.
Μηχανικοί της GM έκαναν κόντρες με C8 Corvette Η Chevrolet τους έδωσε τις νέες C8 Corvette για μια βόλτα αλλά αυτοί το παράκαναν. Διαβάστε τι έγινε.
Αναβάθμιση & νέες τιμές για το Fiat 500X Η γκάμα του Fiat 500X αναβαθμίζεται προσθέτοντας μία νέα εξοπλιστική έκδοση και διατηρώντας τέσσερις κινητήρες με τις τιμές στην ελληνική αγορά να ξεκινούν κάτω από τις 17.000 ευρώ.
Το νέο Opel Corsa απέναντι στο προηγούμενο Update completed! Το νέο Corsa πέρασε στην επόμενη φάση της ζωής του, εξελίσσοντας όλα αυτά τα στοιχεία που το έκαναν best-seller, με νέες τεχνολογίες και καλύπτοντας τις αυξημένες απαιτήσεις του κοινού από ένα μοντέλο με τόσο «βαρύ» όνομα.
ΣΕΕΠΕ: Καμία ανησυχία για αυξήσεις στα καύσιμα Ο Σύνδεσμος Εταιρειών Εμπορίας Πετρελαιοειδών πήρε θέση σχετικά με κάποια δημοσιεύματα για το ενδεχόμενο αυξήσεων στις τιμές των υγρών καυσίμων, υπό το φως των εξελίξεων στη Μέση Ανατολή.
Η Renault ενώνει το Ι.Χ. με το σπίτι (+vid) Η Renault κάνει μια σπάνια εμφάνιση στις Ηνωμένες Πολιτείες καθώς η εταιρεία χρησιμοποιεί την έκθεση CES για να αποκαλύψει μία νέα υπηρεσία που συνδέει το αυτοκίνητό σας με το σπίτι σας.
3 νέα SUV από τη VW Η Volkswagen κατοχύρωσε τρεις νέες ονομασίες που παραπέμπουν σε SUV μοντέλα, ανοίγοντας ουσιαστικά το δρόμο για τον ερχομό τους. T-Sport, T-Coupe και T-Go σας περιμένουμε...
Mercedes A-Class Sedan αντί για C-Class; Πως διαλέγεις ανάμεσα σε μία A-Class Sedan και μία C-Class; Με τη διαχωριστική γραμμή να γίνεται όλο και λιγότερο σαφής, ποιος δε μας λέει ότι η Mercedes ετοιμάζεται να αλλάξει προσέγγιση στην πισωκίνητη C-Class για χάρη της προσθιοκίνητης A-Class Sedan;
Toyota: Περισσότερα ηλεκτρικά & plug-in υβριδικά στην Ευρώπη Με τις νέες νόρμες για τους ρύπους να σφίγγουν τον κλοιό στην Ευρώπη και τις πωλήσεις υβριδικών να είναι ήδη σε πολύ υψηλά επίπεδα για την Toyota, υψηλόβαθμο στέλεχος της ιαπωνικής μάρκας αποκάλυψε πως θα προστεθούν περισσότερα ηλεκτρικά και επαναφορτιζόμενα υβριδικά στη γκάμα οσονούπω.
Αναβάθμιση λογισμικού Tesla Η Tesla λανσάρει ένα νέο update για το λογισμικό των μοντέλων στο οποίο συμπεριλαμβάνονται νέες απεικονίσεις για τον αυτόματο πιλότο, μια σειρά από καινούργιες φωνητικές εντολές, ανάγνωση μηνυμάτων SMS ενώ προσθέτει ακόμα και... τάβλι στα παιχνίδια!
Με ηλεκτρικό πίσω άξονα το Ford Focus RS; Το επερχόμενο Ford Focus RS είναι η τελευταία έκδοση που περιμένουμε να δούμε από τη νέα γενιά του μοντέλου καθώς θα ακολουθήσει τα Focus και Focus ST, με νέες πληροφορίες να αναφέρουν πως το «καυτό» μοντέλο θα έρθει με ηλεκτρικό πίσω άξονα και περισσότερους από 400 ίππους.
3χρονη χάραξε 10 Audi σε αντιπροσωπεία «Κάνε παιδιά να δεις καλό» λέει ο λαός μας και ένας γονέας το κατάλαβε από πρώτο χέρι, όταν μαζί με την 3χρονη κόρη του επισκέφτηκε μία αντιπροσωπεία της Audi!